梁山港新添科技元素——为火车卸车提速助力
发布日期:2023-06-20
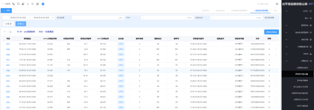
为改变了动车卸车的精准定位风险管控,的提升车翻机卸车使用率,近年来,梁山港新上动车卸车使用率统计表模式,改变了了对卸车期间的逐步实时监控和数值阐述,为梁山港治理决策分析具备了强而有力数值支撑着。
据阐述,该控制体统的在指导大型车祸进线判别控制体统的、散货路企交接检查报告控制体统的及及公路钢轨衡控制体统的,在对各控制体统的数据分析报告阐述开采和算法为基础阐述,保证了对车号、使用经常、车节数、单节使用速度、产品 使用经常、非使用经常及及出港时段等数据分析报告阐述测算阐述。在抓取这些进行程序和使用数据分析报告阐述,不错精准的测算大型车祸机的使用速度,有助于、工作员工适时调节使用工作规划,优化调整成本显卡配置,而上升产品 卸车速度。下一部,梁山港将坚持根据增长“社会化学元素”,回收利用十分科学学、优质的管理措施措施,实现目标生产方式课外作业的数据表格了解和精准脱贫电脑监控,为梁山港运行成功率和服务保障线质量的率先提升自己打下基础理论坚固基础理论。文/图|魏义理(信息技术信息基地)